接下来,由鑫鼎设备厂的白经理(Tel: 13925515216)为大家讲述,数控电脑压簧机能够加工的弹簧类别。鑫鼎设备厂的白经理认为,数控电脑压簧机能够加工的类别是由它自身的结构和工作原理来决定的。

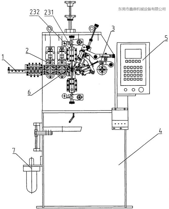
数控电脑压簧机的工作原理:它是利用一组或几组送线滚轮压住钢丝并进行旋转,以此来推动钢丝不断向前运动,并借助上、下圈径杆的限位及导向作用使钢丝卷绕成形。其中,钢丝在上、下圈径杆的各自滑槽中不断向前移动,通过控制上、下圈径杆的相对位置,就可以控制弹簧圈径的大小;节距杆为垂直纸面的运动,其作用是使卷绕的钢丝形成螺纹上升角,然后通过控制和调整节距杆的相对位置,就可以控制弹簧节距的大小。当弹簧在电脑压簧机上卷绕完毕后,通过切刀向下或向上移动将钢丝切断,芯轴则作为切刀在切断钢丝时的一个支撑点。当我们掌握了数控电脑压簧机的自身结构和工作原理后,其能够加工的弹簧种类也就清晰了,即数控电脑压簧机主要是用来加工各种精密压簧类产品的,诸如圆柱形弹簧、塔形弹簧、锥形弹簧、中凸/凹形弹簧及波形弹簧等。
详情来电咨询:白经理 0769-8556 0118 / 139 2551 5216 。
English
中文
Español

+86-769-85560118
E-mail